又一知名家居企业成为被执行人,执行标的高达190.56万元!
分类一
2025年01月13日 00:00 31
admin
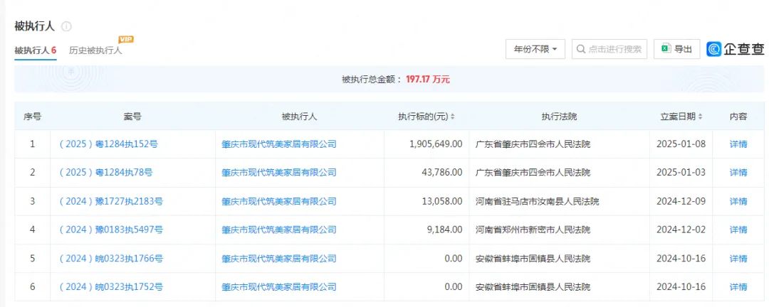
据企查查平台最新消息,肇庆市现代筑美家居有限公司(以下简称“现代筑美家居”)于1月8日新增一条被执行人信息,执行标的高达190.56万元,执行法院为广东省肇庆市四会市人民法院,案号为(2025)粤1284执152号。自2024年10月至今,该公司已累计有6条被执行人信息,被执行总金额达到197.17万元。

现代筑美家居成立于2007年12月12日,法定代表人为梁裕尤,注册资本为3000万美元,经营范围包括家具及配套产品、各类门窗等。值得注意的是,该公司董事长为现任碧桂园董事会主席杨惠妍,法人和现任总经理梁裕尤还担任百余家公司的法定代表人,其中多家公司是碧桂园旗下的相关酒店。此外,现代筑美家居是“伊东发展有限公司”旗下的全资子公司,与房地产行业有着密切的联系。

此次现代筑美家居成为被执行人,其背后与碧桂园集团的深厚关联引发关注。作为房地产行业的巨头,碧桂园近年来也面临着一定的市场压力和资金挑战。此次关联企业的被执行情况,是否会对碧桂园集团产生进一步的影响,目前尚不得而知。但可以肯定的是,现代筑美家居的资金问题需要尽快得到妥善解决,以避免对公司的正常运营和市场声誉造成更大的冲击。
相关文章
